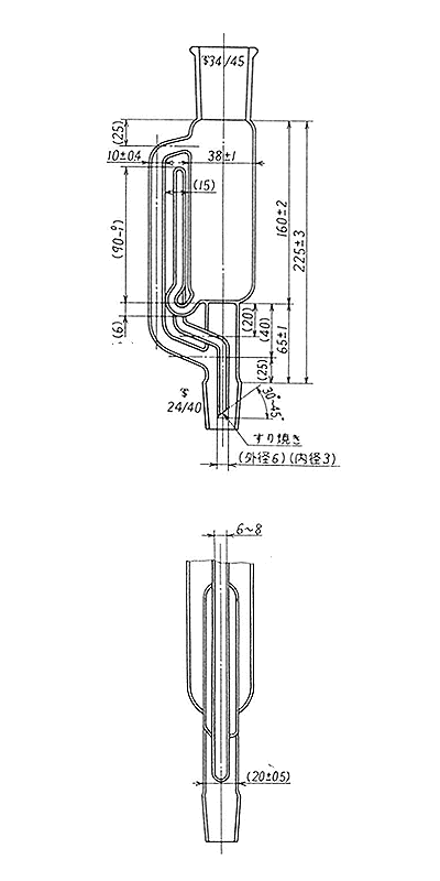
共通すり合わせソックスレ−抽出器 150ml (B)
単位mm
備考: @ 共通すり合わせは、原則として図中のものを使用するが、
近似の規格寸法のものを用いてもよい。
A 共通すり合わせ記号@は、砂目又は焼付けを施す。
B 共通すり合わせソックスレ−抽出器の呼び方は、
名称及び容量及び共通すり合わせ記号による。
例; 共通すり合わせソックスレ−抽出器  150ml
   @34/45×@24/40 (B)