|
 |
|
|
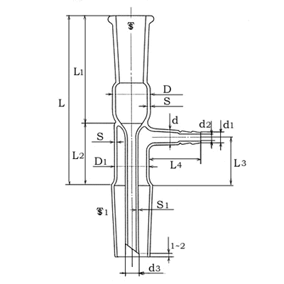
| 共通すり合わせ減圧直形連結管 |
| 単位mm |
| すり合わせ記号(@) |
@19/38 |
@19/38 |
| すり合わせ記号(@1) |
@19/38 |
@24/40 |
| 主管 |
長さ(L) |
95±2 |
95±2 |
| 長さ(L1) |
60±1 |
60±1 |
| 長さ(L2) |
35±1 |
35±1 |
| 外径(D) |
22±0.7 |
22±0.7 |
| 外径(D1) |
15±0.5 |
20±0.2 |
| 厚さ(S) |
2.0±0.2 |
2.0±0.2 |
| 中管 |
外径(d3) |
6±0.3 |
7±0.3 |
| 厚さ(S1) |
1±0.1 |
1±0.1 |
| 枝管 |
長さ(L4) |
30 |
30 |
| 長さ(L3) |
27±1 |
27±1 |
| 外径(d) |
8±1 |
8±1 |
| 外径(d1) |
7 |
7 |
| 内径(d2) |
5 |
5 |
| 備考: |
@ |
共通すり合わせは、原則として表中のものを使用するが、 |
|
|
近似の規格寸法のものを用いてもよい。 |
|
A |
共通すり合わせ記号@は、砂目又は焼付けを施す。 |
|
B |
共通すり合わせ減圧直形連結管の呼び方は、 |
|
|
名称及び共通すり合わせ記号による。 |
|
|
例; 共通すり合わせ減圧直形型連結管 @19/38×@24/40 |
|
|
|