‹¤’Ê‚·‚臂킹ƒŠ[ƒrƒbƒq—â‹pŠí
’P‰¿‚‚
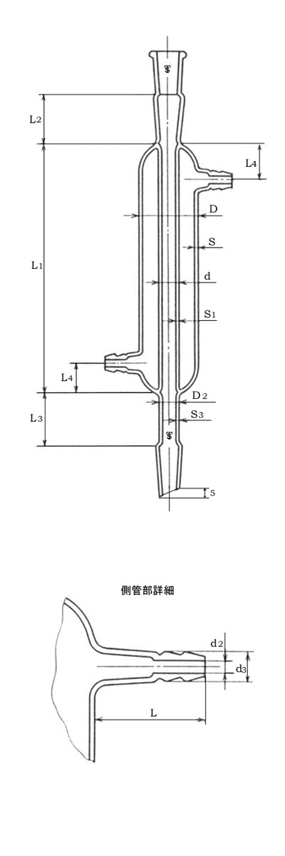
ŒÄ‚Ñ¡–@ 200 300 400 500
ŠO“› ’·‚³i‚k1j 200}5 300}5 400}5 500}5
ŠOŒai‚cj 25}1 30}1 35}1 40}1
Œú‚³i‚rj 1.5}0.2 1.8}0.2 2.0}0.2 2.0}0.2
“àŠÇ ŠOŒai‚„j 12}0.4 12}0.4 15}0.4 15}0.4
Œú‚³i‚r1j 1.2}0.2 1.2}0.2 1.2}0.2 1.2}0.2
ãŒû ’·‚³i‚k2j 40}3 40}3 40}3 40}3
‹r ’·‚³i‚k3j 40}3 40}3 40}3 40}3
ŠOŒai‚c2j 16}0.6 16}0.6 16}0.6 16}0.6
Œú‚³i‚r3j 1.6}0.2 1.6}0.2 1.6}0.2 1.6}0.2
‘¤ŠÇ ’·‚³i‚kj 30}2 30}2 30}2 35}2
ŠOŒai‚„1j 8}0.5 8}0.5 8}0.5 10}0.5
“àŒai‚„2j 5}0.5 5}0.5 5}0.5 7}0.5
’·‚³i‚k4j 12}2 15}2 20}2 20}2
‚·‚臂킹‹L†iğ@j ğ@19/38 ğ@19/38 ğ@19/38 ğ@19/38
”õlF ‡@ ŠOŠÇ‚É•t‚­‘¤ŠÇ‚ÍAŒ´‘¥‚Æ‚µ‚Č݂¢‚É•½s‚ÅA”½‘Α¤‚ɂȂ¯‚ê‚΂Ȃç‚È‚¢B
‡A ‘¤ŠÇ‚ÍA“¯ˆê‘¤‚É•t‚¯‚é‚©A–”‚Í‹ü‹È‚³‚¹‚邱‚Æ‚ª‚Å‚«‚éB
‡B ‹¤’Ê‚·‚臂킹‚ÍAŒ´‘¥‚Æ‚µ‚Ä•\’†‚Ì‚à‚Ì‚ğg—p‚·‚邪A
‹ß—‚Ì‹KŠi¡–@‚Ì‚à‚Ì‚ğ—p‚¢‚Ä‚à‚æ‚¢B
‡C ‹¤’Ê‚·‚臂킹‹L†‚ÍA»–Ú–”‚ÍÄ•t‚¯‚ğ{‚·B
‡D ‹¤’Ê‚·‚臂킹ƒŠ[ƒrƒbƒq—â‹pŠí‚̌Ăѕû‚ÍA
–¼Ì‹y‚ьĂѡ–@‹y‚Ñ‹¤’Ê‚·‚臂킹‹L†‚É‚æ‚éB
—áG@‹¤’Ê‚·‚臂킹ƒŠ[ƒrƒbƒq—â‹pŠí@300‚‚@ğ@19/38