|
 |
|
|
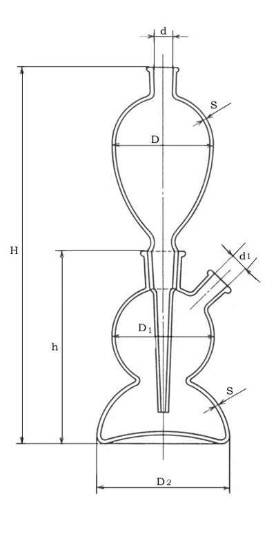
| キップガス発生器 |
| 単位 mm |
| 呼び容量 (ml) |
250 |
500 |
750 |
1000 |
| 上部球容量(ml) |
250 |
500 |
750 |
1000 |
| 上部球外径(D) |
95±5 |
115±5 |
125±5 |
135±5 |
| 中部球外径(D1) |
95±5 |
110±5 |
120±5 |
130±5 |
| 底部外径 (D2) |
125±5 |
150±5 |
160±5 |
170±5 |
| 全長 (H) |
375 |
410 |
460 |
500 |
| 下部球高さ(h) |
190±20 |
210±21 |
240±24 |
270±27 |
| 厚さ(S) |
5±0.5 |
5±0.5 |
5±0.5 |
5±0.5 |
| 上口内径(d) |
24.0±3 |
24.0±3 |
29.2±3 |
29.2±3 |
| 横口内径 (d2) |
24.0±2 |
24.0±3 |
29.2±3 |
29.2±3 |
| 備考: |
@ |
下部球の容量は、上部球の容量より大きくてはならない。 |
|
B |
キップガス発生器1組は、上部球dにゴム栓付安全ロートを備え、 |
|
|
下部球d1にゴム栓及びコック付ガス導入管を備えなければならない。 |
|
B |
底は、わずかにわん曲させる。 |
|
C |
下部に掃除口を取り付ける場合は、指定する事ができる。 |
|
D |
中管の先端と底との距離は、約15mmとする。 |
|
E |
キップガス発生器の呼び方は、名称及び容量による。 |
|
|
例; キップガス発生器 250ml |
|
|
|