|
 |
|
|
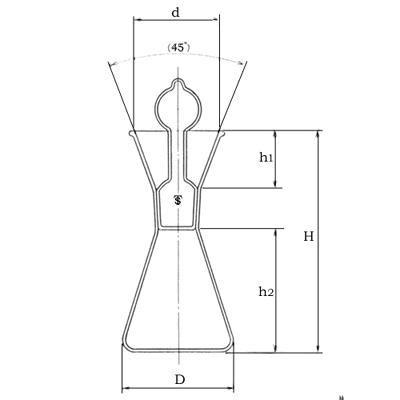
| 共通すり合わせよう素フラスコA形 |
| 単位 mm |
| 呼び容量 (ml) |
100 |
300 |
500 |
| 最大外径 (D) |
64±3 |
90±3 |
108±3 |
| 高さ (H) |
130±3 |
175±4 |
211±5 |
| 受部 |
外径(d) |
50±2 |
50±2 |
55±2 |
| 高さ(h1) |
25±2 |
25±2 |
28±2 |
| フラスコ部高さ(h2) |
79±3 |
121±3 |
151±3 |
| すり合わせ(@) |
@24/29 |
@24/29 |
@29/32 |
| 備考: |
@ |
容量は、首下端までの容量の約80%とする。 |
|
A |
容量表示、メモ用スペースは、砂目又は焼き付けを施す。 |
|
B |
口形状は、リップ付きとする。 |
|
C |
栓は、中空又は中実とする。 |
|
D |
栓のすり合わせは、水密でなければならない。 |
|
E |
共通すり合わせよう素フラスコA形の呼び方は、 |
|
|
名称及び呼び容量による。 |
|
|
例; 共通すり合わせよう素フラスコA形 300ml |
|
|
|