|
 |
|
|
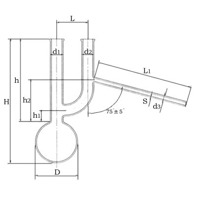
| クライゼンフラスコ |
| 単位 mm |
| 呼び容量 (ml) |
100 |
200 |
300 |
500 |
1000 |
2000 |
| 玉外径 (D) |
65±3 |
80±3 |
93±3 |
108±3 |
135±4 |
170±4 |
| 高さ (H) |
198±3 |
240±3 |
280±3 |
315±3 |
380±3 |
450±3 |
| 主管 |
外径(d1) |
20±1 |
25±1 |
28±1 |
28±1 |
35±2 |
38±2 |
| 高さ(h) |
133 |
160 |
187 |
207 |
245 |
280 |
| 側管 |
外径(d2) |
20±1 |
25±1 |
28±1 |
28±1 |
35±2 |
38±2 |
| 高さ(h1) |
17±2 |
21±2 |
23±2 |
23±2 |
28±2 |
32±2 |
| 枝管 |
外径(d1) |
6±0.3 |
6±0.3 |
7±0.3 |
8±0.4 |
9±0.4 |
10±0.4 |
| 厚さ(S) |
1.2±0.1 |
1.2±0.1 |
1.2±0.1 |
1.2±0.1 |
1.2±0.1 |
1.2±0.1 |
| 高さ(h1) |
67±2 |
80±2 |
94±2 |
104±2 |
123±2 |
140±2 |
| 長さ(L) |
150±3 |
180±3 |
220±3 |
250±3 |
270±3 |
290±3 |
| ゴム栓(No) |
4 |
7 |
8 |
8 |
11 |
12 |
| 最低質量 (g) |
70 |
110 |
150 |
190 |
300 |
440 |
| 備考: |
@ |
口形状はリップ付とする。 |
|
A |
容量表示、メモ用スペースは、砂目又は焼き付けを施す。 |
|
B |
クライゼンフラスコの呼び方は、名称及び呼び容量による。 |
|
|
例; クライゼンフラスコ 200ml |
|
|
|