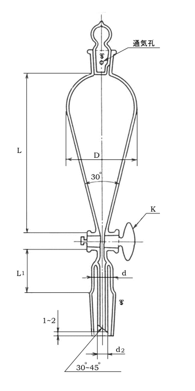
‹¤’Ê‚·‚臂킹ƒXƒL[ƒuŒ`•ª‰tƒ[ƒgi‚aj
’PˆÊ@‚‚
ŒÄ‚Ñ—e—Ê@i‚‚Œj 50 100 200 300 500 1000
“· Å‘åŠOŒai‚cj 50}3 60}3 72}3 83}3 98}3 125}3
’·‚³i‚kj 97}5 125}5 165}5 180}5 200}5 250}5
‹r ’·‚³i‚k1j 30}2 30}2 35}2 40}2 40}2 50}2
ŠOŒai‚„j 15}0.5 15}0.5 15}0.5 20}0.5 20}0.5 25}0.6
ŠOŒai‚„2j 6}0.3 6}0.3 7}0.4 7}0.4 8}0.4 10}0.5
ğ‚·‚è‡‚¹iğ@j ğ@19/26 ğ@19/26 ğ@24/29 ğ@29/26 ğ@29/26 ğ@29/26
‰º•”‚·‚臂¹iğ@j ğ@19/38 ğ@19/38 ğ@19/38 ğ@19/38 ğ@24/40 ğ@29/42
ƒRƒbƒNi‚jj ‚j-16 ‚j-16 ‚j-16 ‚j-16 ‚j-19 ‚j-22
”õlF ‡@ —e—Ê‚ÍA“·•”—e—ʂ̖ñ80“‚Æ‚·‚éB
‡A ‹¤’Ê‚·‚臂킹‚ÍAŒ´‘¥‚Æ‚µ‚Ä•\’†‚Ì‚à‚Ì‚ğg—p‚·‚邪A
‹ß—‚Ì‹KŠi¡–@‚Ì‚à‚Ì‚ğg—p‚µ‚Ä‚à‚æ‚¢B
‡B ğ‚Ì“E‚İŒ`ó‹y‚Ñ¡–@‚ÍA‹K’肵‚È‚¢B
‡C Œû‚É‚ÍA–ñ3‚‚‚Ì’Ê‹CE‚ğ‚ ‚¯‚éB
‡D ğ‚Í’†‹ó‚Æ‚µA’Ê‹C—p‚Ìa‚ğİ‚¯A
a•ûŒü‚ğ“IŠm‚Éw¦‚·‚é•\¦‚ğ‚µ‚È‚¯‚ê‚΂Ȃç‚È‚¢B
‡E ƒRƒbƒN‚̑傫‚³‚ÍA•Ê}iˆê•ûƒRƒbƒNj‚̌ĂыL†‚Æ‚·‚éB
‡F ‹¤’Ê‚·‚臂킹ƒXƒL[ƒuŒ`•ª‰tƒ[ƒg‚̌Ăѕû‚ÍA
–¼Ì‹y‚ьĂїe—Ê‹y‚Ñ‹¤’Ê‚·‚臂킹‹L†‚É‚æ‚éB
—áG@‹¤’Ê‚·‚臂킹ƒXƒL[ƒuŒ`•ª‰tƒ[ƒg@100‚‚Œ@ğ@19/38 (‚a)