| ”õlF |
‡@ |
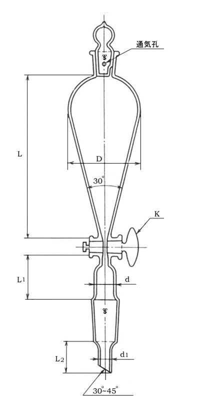
—e—Ê‚ÍA“·•”—e—ʂ̖ñ80“‚Æ‚·‚éB |
|
‡A |
‹¤’Ê‚·‚臂킹‚ÍAŒ´‘¥‚Æ‚µ‚Ä•\’†‚Ì‚à‚Ì‚ğg—p‚·‚邪A |
|
|
‹ß—‚Ì‹KŠi¡–@‚Ì‚à‚Ì‚ğg—p‚µ‚Ä‚à‚æ‚¢B |
|
‡B |
ğ‚Ì“E‚İŒ`ó‹y‚Ñ¡–@‚ÍA‹K’肵‚È‚¢B |
|
‡C |
Œû‚É‚ÍA–ñ3‚‚‚Ì’Ê‹CE‚ğ‚ ‚¯‚éB |
|
‡D |
ğ‚Í’†‹ó‚Æ‚µA’Ê‹C—p‚Ìa‚ğİ‚¯A |
|
|
a•ûŒü‚ğ“IŠm‚Éw¦‚·‚é•\¦‚ğ‚µ‚È‚¯‚ê‚΂Ȃç‚È‚¢B |
|
‡E |
ƒRƒbƒN‚̑傫‚³‚ÍA•Ê}iˆê•ûƒRƒbƒNj‚̌ĂыL†‚Æ‚·‚éB |
|
‡F |
‹¤’Ê‚·‚臂킹ƒXƒL[ƒuŒ`•ª‰tƒ[ƒg‚̌Ăѕû‚ÍA |
|
|
–¼Ì‹y‚ьĂїe—Ê‹y‚Ñ‹¤’Ê‚·‚臂킹‹L†‚É‚æ‚éB |
|
|
—áG@‹¤’Ê‚·‚臂킹ƒXƒL[ƒuŒ`•ª‰tƒ[ƒg@100‚‚Œ@ğ@19/38
(A) |