| ”õlF |
‡@ |
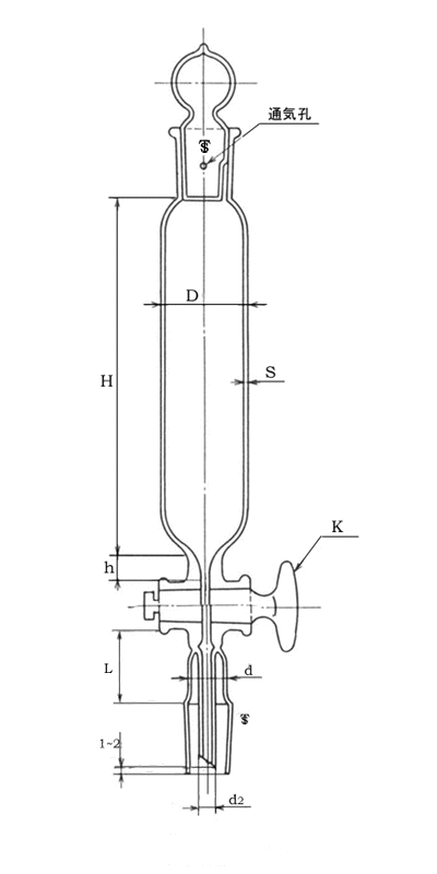
ğ‚Ì‹¤’Ê‚·‚臂킹‚ÍAŒ´‘¥‚Æ‚µ‚Ä•\’†‚Ì‚à‚Ì‚ğg—p |
|
|
‚·‚邪A‹ß—‚Ì‹KŠi¡–@‚Ì‚à‚Ì‚ğg—p‚µ‚Ä‚à‚æ‚¢B |
|
‡A |
ğ‚Ì“E‚İŒ`ó‹y‚Ñ¡–@‚ÍA‹K’肵‚È‚¢B |
|
‡B |
Œû‚É‚ÍA–ñ3‚‚‚Ì’Ê‹CE‚ğ‚ ‚¯‚éB |
|
‡C |
ğ‚Í’†‹ó‚Æ‚µA’Ê‹C—p‚Ìa‚ğİ‚¯A |
|
|
a•ûŒü‚ğ“IŠm‚Éw¦‚·‚é•\¦‚ğ‚µ‚È‚¯‚ê‚΂Ȃç‚È‚¢B |
|
‡D |
ƒRƒbƒN‚̑傫‚³‚ÍA•Ê}iˆê•ûƒRƒbƒNj‚̌ĂыL†‚Æ‚·‚éB |
|
‡E |
‹¤’Ê‚·‚臂킹‰~“›Œ`“H‰ºƒ[ƒg‚̌Ăѕû‚ÍA |
|
|
–¼Ì‹y‚ьĂїe—Ê‹y‚Ñ‹¤’Ê‚·‚臂킹‹L†‚É‚æ‚éB |
|
|
—áG@‹¤’Ê‚·‚臂킹‰~“›Œ`“H‰ºƒ[ƒg@100‚‚Œ@ğ@19/38@
(B) |