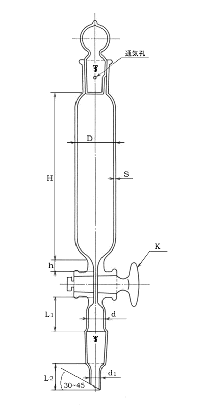
‹¤’Ê‚·‚臂킹‰~“›Œ`“H‰ºƒ[ƒgi‚`j
’PˆÊ@‚‚
ŒÄ‚Ñ—e—Ê@i‚‚Œj 50 100 200 300 500
“· ŠOŒai‚cj 32}0.8 40}0.7 48}1 55}1 65}1.2
’·‚³i‚gj 115}2 135}2 180}2 230}2 245}2
“÷Œúi‚rj 1.8}0.2 2}0.2 2}0.2 2.4}.03 2.4}0.3
’·‚³i‚ˆj 10 10 10 10 10
‹r ’·‚³i‚k1j 30}2 30}2 35}2 40}2 40}2
’·‚³i‚k2j 30}2 30}2 30}2 30}2 30}2
ŠOŒai‚„j 15}0.4 15}0.4 20}0.6 25}0.6 25}0.6
ŠOŒai‚„1j 10}0.4 10}0.4 10}0.4 13}0.4 13}0.4
ğ‚·‚è‡‚¹iğ@j ğ@19/26 ğ@19/26 ğ@24/29 ğ@29/26 ğ@29/26
‰º•”‚·‚臂¹iğ@j ğ@19/38 ğ@19/38 ğ@19/38 ğ@19/38 ğ@19/38
ƒRƒbƒNi‚jj ‚j-16 ‚j-16 ‚j-16 ‚j-16 ‚j-17
”õlF ‡@ ğ‚Ì‹¤’Ê‚·‚臂킹‚ÍAŒ´‘¥‚Æ‚µ‚Ä•\’†‚Ì‚à‚Ì‚ğg—p
‚·‚邪A‹ß—‚Ì‹KŠi¡–@‚Ì‚à‚Ì‚ğg—p‚µ‚Ä‚à‚æ‚¢B
‡A ğ‚Ì“E‚İŒ`ó‹y‚Ñ¡–@‚ÍA‹K’肵‚È‚¢B
‡B Œû‚É‚ÍA–ñ3‚‚‚Ì’Ê‹CE‚ğ‚ ‚¯‚éB
‡C ğ‚Í’†‹ó‚Æ‚µA’Ê‹C—p‚Ìa‚ğİ‚¯A
a•ûŒü‚ğ“IŠm‚Éw¦‚·‚é•\¦‚ğ‚µ‚È‚¯‚ê‚΂Ȃç‚È‚¢B
‡D ƒRƒbƒN‚̑傫‚³‚ÍA•Ê}iˆê•ûƒRƒbƒNj‚̌ĂыL†‚Æ‚·‚éB
‡E ‹¤’Ê‚·‚臂킹‰~“›Œ`“H‰ºƒ[ƒg‚̌Ăѕû‚ÍA
–¼Ì‹y‚ьĂїe—Ê‹y‚Ñ‹¤’Ê‚·‚臂킹‹L†‚É‚æ‚éB
—áG@‹¤’Ê‚·‚臂킹‰~“›Œ`“H‰ºƒ[ƒg@100‚‚Œ@ğ@19/38@(A)