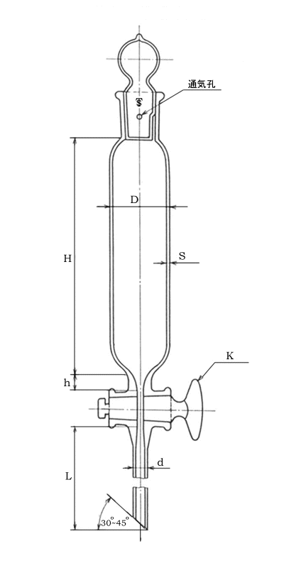
‰~“›Œ`•ª‰tƒ[ƒg
’PˆÊ@‚‚
ŒÄ‚Ñ—e—Ê@i‚‚Œj 50 100 200 300 500
“· ŠOŒai‚cj 32}0.8 40}0.7 48}1 55}1 65}1.2
’·‚³i‚gj 115}2 135}2 180}2 230}2 245}2
“÷Œúi‚rj 1.8}0.2 2}0.2 2}0.2 2.4}.03 2.4}0.3
’·‚³i‚ˆj 10 10 10 10 10
‹r ’·‚³i‚kj 100}5 100}5 100}5 100}5 100}5
ŠOŒai‚„j 10}0.4 10}0.4 10}0.4 13}0.4 13}0.4
ğ‚·‚è‡‚¹iğ@j ğ@19/26 ğ@19/26 ğ@24/29 ğ@29/26 ğ@29/26
ƒRƒbƒNi‚jj ‚j-16 ‚j-16 ‚j-16 ‚j-16 ‚j-17
”õlF ‡@ ğ‚Ì‹¤’Ê‚·‚臂킹‚ÍAŒ´‘¥‚Æ‚µ‚Ä•\’†‚Ì‚à‚Ì‚ğg—p
‚·‚邪A‹ß—‚Ì‹KŠi¡–@‚Ì‚à‚Ì‚ğg—p‚µ‚Ä‚à‚æ‚¢B
‡A ğ‚Ì“E‚İŒ`ó‹y‚Ñ¡–@‚ÍA‹K’肵‚È‚¢B
‡B Œû‚É‚ÍA–ñ3‚‚‚Ì’Ê‹CE‚ğ‚ ‚¯‚éB
‡C ğ‚Í’†‹ó‚Æ‚µA’Ê‹C—p‚Ìa‚ğİ‚¯A
a•ûŒü‚ğ“IŠm‚Éw¦‚·‚é•\¦‚ğ‚µ‚È‚¯‚ê‚΂Ȃç‚È‚¢B
‡D ƒRƒbƒN‚̑傫‚³‚ÍA•Ê}iˆê•ûƒRƒbƒNj‚̌ĂыL†‚Æ‚·‚éB
‡E ‰~“›Œ`•ª‰tƒ[ƒg‚̌Ăѕû‚ÍA–¼Ì‹y‚ьĂїe—ʂɂæ‚éB
—áG@‰~“›Œ`•ª‰tƒ[ƒg@100‚‚Œ