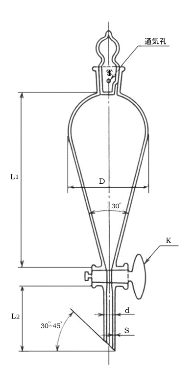
ƒXƒL[ƒuŒ`•ª‰tƒ[ƒg
’PˆÊ@‚‚
ŒÄ‚Ñ—e—Ê@i‚‚Œj 50 100 200 300 500 1000
“· Å‘åŠOŒai‚cj 50}3 60}3 72}3 83}3 98}3 125}3
’·‚³i‚k1j 97}5 125}5 165}5 180}5 200}5 250}5
‹r ’·‚³i‚k2j 50}5 50}5 50}5 70}5 70}5 80}5
ŠOŒai‚„j 9}0.5 9}0.5 9}0.5 10}0.5 12}0.5 15}0.6
Œú‚³i‚rj 1.6}0.2 1.6}0.2 1.6}0.2 1.6}0.2 1.6}0.2 2}0.2
ğ‚·‚è‡‚¹iğ@j ğ@19/26 ğ@19/26 ğ@24/29 ğ@24/29 ğ@29/32 ğ@29/32
ƒRƒbƒNi‚jj ‚j-16 ‚j-16 ‚j-16 ‚j-16 ‚j-19 ‚j-22
”õlF ‡@ —e—ʂ͓·•”—e—ʂ̖ñ80“‚Æ‚·‚éB
‡A ƒRƒbƒN‚̑傫‚³‚ÍA•Ê}iˆê•ûƒRƒbƒNj‚̌ĂыL†‚Æ‚·‚éB
‡B ğ‹y‚уRƒbƒN‚·‚臂킹‚ÍA…–§‚łȂ¯‚ê‚΂Ȃç‚È‚¢B
‡C ğ‚Ì“E‚İŒ`ó‹y‚Ñ¡–@‚ÍA‹K’肵‚È‚¢B
‡D Œû‚É‚ÍA–ñ3‚‚‚Ì’Ê‹CE‚ğ‚ ‚¯‚éB
‡E ğ‚Í’†‹ó‚Æ‚µA’Ê‹C—p‚Ìa‚ğİ‚¯A
a•ûŒü‚ğ“IŠm‚Éw¦‚·‚é•\¦‚ğ‚µ‚È‚¯‚ê‚΂Ȃç‚È‚¢B
‡F ğ‚Ì‹¤’Ê‚·‚臂킹‚ÍAŒ´‘¥‚Æ‚µ‚Ä•\’†‚Ì‚à‚Ì‚ğg—p
‚·‚邪A‹ß—‚Ì‹KŠi¡–@‚Ì‚à‚Ì‚ğg—p‚µ‚Ä‚à‚æ‚¢B
‡G ‹¤’Ê‚·‚臂킹‹y‚уRƒbƒN‚É‚ÍA»–Ú‚Ü‚½‚ÍÄ•t‚Ì‹L†‚ğ{‚·B
‡H ƒXƒL[ƒuŒ`•ª‰tƒ[ƒg‚̌Ăѕû‚ÍA–¼Ì‹y‚ьĂїe—ʂɂæ‚éB
—áG@ƒXƒL[ƒuŒ`•ª‰tƒ[ƒg@1000‚‚Œ