|
 |
|
|
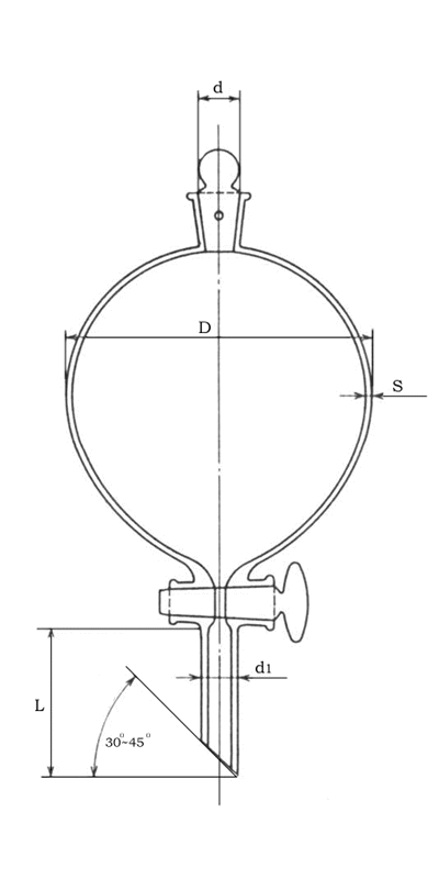
| 肉厚分液ロート |
| 単位 mm |
| 呼び容量 (ml) |
1000 |
3000 |
5000 |
10000 |
20000 |
| 胴 |
最大外径(D) |
130±13 |
200±20 |
230±23 |
300±30 |
360±36 |
| 厚さ(S) |
3±1 |
3.5±1 |
4±1 |
5±1 |
5±1 |
| 脚 |
長さ(L) |
70±7 |
100±10 |
120±12 |
150±15 |
180±18 |
| 外径(d1) |
20±2 |
24±3 |
35±4 |
45±5 |
50±5 |
| 上部すり最大径(d) |
30±3 |
35±4 |
40±4 |
55±6 |
60±6 |
| コック穴径(約) |
6 |
7.5 |
8 |
10 |
12 |
| 備考: |
@ |
容量は胴部容量の約80%とする。 |
|
A |
栓及びコックのペーパーは、1/10とする。 |
|
B |
栓及びコックすり合わせは、水密でなければならない。 |
|
C |
栓の摘み形状及び寸法は、規定しない。 |
|
D |
口には、通気用の小穴をあける。 |
|
E |
肉厚分液ロートの呼び方は、名称及び呼び容量による。 |
|
|
例; 肉厚分液ロート 1000ml |
|
|
|